Reservdelar
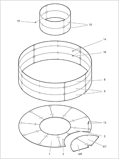
Sprängskisserna visar maskinens uppbyggnad enligt modulerna A-kar, B-skydd osv....
Klicka på respektive modul för att hitta detaljerna ni söker till er maskin.
Finns delarna ni söker till er maskin inte med, kontakta oss för mer information!